INC VAT
EX VAT
Solid carbide drills with coolant-through A3389DPL-3.5Solid carbide drills with coolant-through A3389DPL-3.5

Solid carbide drills with coolant-through A3389DPL-3.5

117.90
EX VAT
145.02
INC VAT
Walter Titex
Solid carbide drills with coolant-through A3389DPL-3.5
P
H
M
S
K
N
O
= First choice
= Second choice
PRODUCT ATTRIBUTES
Tool designation (Designation) A3389DPL-3.5
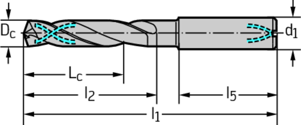
Cutting edge diameter (D c) 3.5 mm
Cutting edge length (L c) 23 mm
Overall length (l 1) 66 mm
Projection length (l 2) 28 mm
Shank length (l 5) 36 mm
Shank diameter (d 1) 6 mm
Insert Shape A3
DESCRIPTION & FEATURES
Solid carbide drills with coolant-through A3389DPL • Xtreme Plus • DIN 6537 L • 5xD • DIN 6535 HA shank • point angle 140° • Dc=3,5mm
Article number (J21):
A3389DPL-3.5
Standard number of properties layout (NSM):
DIN4000-81
Company code (J3):
W
Tool style code (BLD):
1
Cutting diameter 1st step minimum (A11):
3,5 mm
Protruding length (B3):
29,997 mm
Usable length (B4):
23 mm
Overall length (B5):
66 mm
Length chip flute (B6):
28 mm
Point length (B7):
0,637 mm
Functional length (B71):
65,36 mm
Neck length (B9):
23
Connection code type machine side (C11):
ZYL
Connection code form at machine side (C12):
01
Connection code unit base machine side (C14):
1
Connection code style machine side (C15):
5
Connection size code machine side (C2):
0060
Connection diameter machine side (C3):
6 mm
ISO-tolerance class shank diameter (C31):
h6
Shank length (C4):
36 mm
Flute count (D1):
2
Flute helix hand (D2):
R
Flute helix angle (D3):
30 °
Rotational speed maximum (D6):
100000 1/min
Weight of item (D7):
0,03 kg
Point angle 1st step (E1):
140 °
Cutting direction (F1):
Right
Coolant entry style code (H21):
1
Coolant exit style code (H22):
3
Grade manufacturer's designation (H3):
DPL
Body material code (H4):
H
Coating (H5):
TiAlN (AlCrN)
Standard (J1):
DIN 6537 L
Standard letter to the standard number (J11):
HA
Data chip provision (J7):
0
Coolant Type:
Through Coolant